|
|
D01451720C |

MEMORY PLAYER / INTERFACE
Owner's Manual
V1.10
.jpg)
Thank you very much for purchasing a TASCAM MP-800U MEMORY PLAYER / INTERFACE.
Before using this unit, read this Owner's Manual carefully so that you will be able to use it correctly and enjoy working with it for many years. After you have finished reading this manual, please keep it in a safe place for future reference.
You can also download this Owner’s Manual from the TASCAM website.
|
|
MP-800U |
Playback of MP3, AAC and WAV files possible from SD cards and USB flash drives
Playback possible from smartphones, tablets and other Bluetooth® devices1
Built-in FM tuner
Computer audio can be output via USB audio
Analog outputs include pairs of XLR balanced and RCA unbalanced jacks
"Incremental play" function jumps to the beginning of the next track
"Auto cue" function searches for the beginning of sound in a track and pauses at that point
"Auto ready" function pauses at the beginning of the next track after a track plays back
"Fade-in" and "fade-out" playback functions
Pitch control playback function with +/−16% range
"Key original" function can be used to change the playback speed without changing the pitch
"Power-on-play" function can automatically start playback when the unit is turned on
External control possible using Ethernet (Telnet)2
Fader start and event start supported
Remote control of this unit possible using an app1, 3
Unbalanced RCA connectors dedicated for tuner output
SD/USB direct track search function using number keys or a dedicated remote control
"Panel lock" function can disable controls on the unit to increase security during use
Headphone output jack enables audio monitoring
1U rackmount size
1 This requires an AK-BT2 Bluetooth® adapter (sold separately).
2 This requires an IF-E100 Ethernet control card (sold separately).
3 This Requires TASCAM MEDIA CONTROL CENTER, which is a free iOS/Android app.
|
Information is given about products in this manual only for the purpose of example and does not indicate any guarantees against infringements of third-party intellectual property rights and other rights related to them. TEAC Corporation will bear no responsibility for infringements on third-party intellectual property rights or their occurrence because of the use of these products. |
|
Properties copyrighted by third parties cannot be used for any purpose other than personal enjoyment and the like without the permission of the right holders recognized by copyright law. Always use this equipment properly. TEAC Corporation will bear no responsibility for rights infringements committed by users of this product. |
TASCAM is a registered trademark of TEAC Corporation.
The SDXC logo is a trademark of SD-3C, LLC.

MPEG Extended HE-AAC software licensed from Fraunhofer IIS.
https://www.iis.fraunhofer.de/audio
The Bluetooth® word mark and logos are registered trademarks owned by Bluetooth SIG, Inc. and any use of such marks by TEAC Corporation is under license.
Other company names, product names and logos in this document are the trademarks or registered trademarks of their respective owners.
Conventions used in this manual
We use the following conventions in this manual.
SD/SDHC/SDXC memory cards are called “SD cards”.
"USB flash drives" are sometimes called "USB drives".
The input source that is currently selected is called the “current source”.
The folder that is currently selected is called the "current folder".
Smartphones, tablets, computers and other devices connected to this unit using Bluetooth are called “Bluetooth devices”.
As necessary, additional information is provided under TIP, NOTE, ATTENTION and CAUTION headings.
TIP
These are tips about how to use the unit.
NOTE
These provide additional explanations and describe special cases.
ATTENTION
Failure to follow these instructions could result in damage to equipment or lost recording data, for example.
CAUTION
Failure to follow these instructions could result in injury.
Items included with this product
This product includes the following items.
Take care when opening the package to avoid damaging the items. Keep the box and packing materials for transportation in the future.
Please contact the store where you purchased this unit if any of these items are missing or have been damaged during transportation.
Main unit × 1
Power cord × 1
Wireless remote control (TASCAM RC-MP800) × 1
AAA batteries × 2
FM antenna × 1
Rackmounting kit
Attachment screws × 4
Washers × 4
TASCAM ID registration guide × 1
Safety guide including warranty × 1
Accessories sold separately
This product does not include the following items.
Please purchase any that you need for your uses.
SD cards and USB flash drives
USB cables (for communication or data transfer)
Bluetooth adapter (TASCAM AK-BT2)
Ethernet control card (TASCAM IF-E100)
Direct play remote (TASCAM RC-20)
This unit can use SD cards and USB flash drives for playback. Prepare one for use.
A list of SD cards and USB flash drives that have been confirmed for use with this unit can be found on the TASCAM website. Please refer to the product page for this model. You can also contact TASCAM customer support.
https://tascam.jp/int/product/mp-800u/docs
SD cards and USB flash drives are delicate media.
In order to avoid damaging SD cards and USB flash drives, please take the following precautions when handling them.
Do not leave them in extremely hot or cold places.
Do not leave them in extremely humid places.
Do not let them get wet.
Do not put things on top of them or twist them.
Do not hit them.
Do not remove or insert them during recording, playback, data transmission or other access.
Always put memory cards in cases when transporting them.
A USB cable must be prepared to connect this unit to a computer (Windows/Mac). (We recommend using USB-IF certified products.)
This unit has a USB Type-C port. Prepare a USB cable suitable for the USB port of the computer being used.
NOTE
USB cables designed only for charging cannot be used.
Audio output will not be possible from a computer that is connected to the USB FLASH DRIVE (USB Type-A) port.
Connecting to a computer with a USB Type-C port
A commercially-available Type-C to Type-C cable is necessary.
Connecting to a computer with a USB Type-A port
A commercially-available Type-A to Type-C cable is necessary.
Using an AK-BT2 Bluetooth adapter
Installing an AK-BT2 in this unit makes audio playback possible from smartphones, tablets and other Bluetooth devices.
In addition, this also enables wireless remote control using the dedicated TASCAM MEDIA CONTROL CENTER application.
Using a TASCAM IF-E100 Ethernet control card
If an IF-E100 Is installed in this unit and connected to a network, Telnet commands can be used from a computer or other device on the network to control this unit remotely.
See the IF-E100 Operation Manual and the MP-800U TELNET protocol specifications for details about use.
Using a TASCAM RC-20 direct play remote
If an RC-20 is connected, files on USB flash drives and SD cards can be played directly.
See the RC-20 Operation Manual and "Using the REMOTE connector" for details about use.
Precautions for placement and use
The operating temperature range of this unit is 0–40 °C.
Do not install this unit in the following types of locations. Doing so could make the sound quality worse or cause malfunction.
Locations with frequent vibrations
Near windows or other places exposed to direct sunlight
Near heaters or other extremely hot places
Extremely cold places
Very humid or poorly ventilated places
Very dusty places
Install the unit so that it is level.
To enable good heat dissipation, do not place anything on top of the unit.
Do not place the unit on top of a power amplifier or other device that generates heat.
|
In case of the failure of the Product caused by the tapes or other media (“Media”) you used, the repair for the failure shall not be covered by the warranty of the Product and must be done at your own expense.
|
|
TEAC shall never be responsible for any damages due to the Media including but not limited to the corruption or breakage of the Product or the Media, dragging the tapes into the Product, and/or loss of data in whole or in part that arises out of or related to the use of the Media. That is the same for any damages such as lost profit, indirect or consequential damages, and/or special damages. * It is highly recommended that you shall take appropriate measures to prepare for the unexpected loss of data along with the Copyright Act of your country or region. |
Insert the included power cord all the way into the AC IN connector.
This unit can be used with AC 100–240V (50/60Hz) power supply voltage.
Hold the power cord by its plug when connecting or disconnecting it.
CAUTION
The included power cord has a rated voltage of 125 V AC It cannot be used with over 125 V.
Condensation could occur if the unit is moved from a cold place to a warm place, it is used immediately after a cold room has been heated or it is otherwise exposed to a sudden temperature change.
To prevent this, or if this occurs, let the unit sit for one or two hours at the new room temperature before using it.
Use a dry soft cloth to wipe the unit clean. Do not wipe with chemical cleaning cloths, thinner, alcohol or other chemical agents. Doing so could damage the surface or cause discoloration.
About TASCAM customer support service
TASCAM products are supported and warrantied only in their country/region of purchase.
To receive support after purchase, on the TASCAM Distributors list page of the TEAC Global Site, search for the local company or representative for the region where you purchased the product and contact that organization.
When making inquiries, the address (URL) of the shop or web shop where it was purchased and the purchase date are required. Moreover, the warranty card and proof of purchase might also be necessary.
.jpg)
POWER switch
This turns the unit on and off
ATTENTION
Do not turn the unit off when it is operating (including playing back).
Doing so could cause data loss and sudden loud noises from monitoring equipment, which could damage the equipment or harm hearing.
Before turning the unit on, lower the volumes of connected equipment to their minimum levels.
Failure to do so could result in a sudden loud noise that could harm hearing, for example.
1 [LOCK] button
Press this when the current source is USB or SD to input track number 1. (See "Selecting tracks directly".)
Press this to select preset number 1 when the current source is FM.
Press this while pressing the SHIFT button to turn on/off the panel lock function (which disables button use to prevent misoperation). (See "Panel lock functions".)
NOTE
The number buttons on the unit (1 [LOCK] – 0 [
(brightness adjustment)]) can be used to specify numbers for track selection. Track numbers can have up to 3 digits. (See "Selecting tracks directly".)
Pressing a number button while pressing the SHIFT button will change the setting of the function shown in white lettering below the button.
2 [P.O.PLAY] button
Press this when the current source is USB or SD to input track number 2. (See "Selecting tracks directly".)
Press this to select preset number 2 when the current source is FM.
Press this while pressing the SHIFT button to turn on/off the power-on-play function. (See "Using the power-on-play function".)
3 [P.MODE] button
Press this when the current source is USB or SD to input track number 3. (See "Selecting tracks directly".)
Press this to select preset number 3 when the current source is FM.
When the current source is USB or SD, press this while pressing the SHIFT button to cycle through the playback modes (continuous, single and random). (See "Playback modes".)
4 [REPEAT] button
Press this when the current source is USB or SD to input track number 4. (See "Selecting tracks directly".)
Press this to select preset number 4 when the current source is FM.
When the current source is USB or SD, press this while pressing the SHIFT button to turn on/off the repeat playback function. (See "Ordinary repeat playback settings".)
5 [A-B REP] button
Press this when the current source is USB or SD to input track number 5. (See "Selecting tracks directly".)
Press this to select preset number 5 when the current source is FM.
When the current source is USB or SD, press this while pressing the SHIFT button to set the starting (A) and ending (B) points for the A-B repeat playback function. (See "A-B repeat playback settings".)
6 [A. PRESET] button
Press this when the current source is USB or SD to input track number 6. (See "Selecting tracks directly".)
Press this to select preset number 6 when the current source is FM.
When the current source is FM, press this while pressing the SHIFT button to automatically program preset stations. (See "Setting radio station presets automatically".)
7 [M.PRESET] button
Press this when the current source is USB or SD to input track number 7. (See "Selecting tracks directly".)
Press this to select preset number 7 when the current source is FM.
When the current source is FM, press this while pressing the SHIFT button to manually program preset stations. (See "Setting radio station presets manually".)
8 [FM MODE] button
Press this when the current source is USB or SD to input track number 8. (See "Selecting tracks directly".)
Press this to select preset number 8 when the current source is FM.
When the current source is FM, press this while pressing the SHIFT button to switch between stereo and mono for FM broadcast reception. (See "Setting the FM mode".)
9 [P.AREA] button
Press this when the current source is USB or SD to input track number 9. (See "Selecting tracks directly".)
Press this to select preset number 9 when the current source is FM.
When the current source is USB or SD, press this while pressing the SHIFT button to set the playback area. (See "Setting the playback area".)
0 [
(brightness adjustment)] button
Press this when the current source is USB or SD to input track number 0. (See "Selecting tracks directly".)
Press this to select preset number 0 when the current source is FM.
Press this while pressing the SHIFT button to adjust the display brightness. (See "Adjusting the display brightness".)
DISPLAY button
Press during playback to show a variety of information. (See "Time and text information display".)
RDS and INFO functions cannot be used with this unit.
Display
Displays a variety of information.
HOME/MENU button
When the Home Screen is open, press this to open the Menu Screen. (See "Menu structure".) (See "Basic Menu Screen operations".)
When the MENU Screen or a menu item settings screen is open, press this to return to the Home Screen.
MULTI JOG dial
This dial functions as a dial when turned and as a button when pressed.
Dial functions
When the current source is USB or SD, turn the MULTI JOG dial to skip tracks. (See "Skipping to earlier and later tracks".)
The operation after selection depends on the auto cue function setting. (See "Auto cue function".)
Turn the MULTI JOG dial to move between tracks and folders when the current source is USB or SD, the playback area is a folder (
icon shown), and the BROWSE Screen has been opened by pressing the BACK button. (See "Moving between folders and tracks".)
When the current source is FM, turn the MULTI JOG dial to change the received frequency. (See "Tuning in radio stations".)
When the current source is FM and preset mode is enabled, turn the MULTI JOG dial to move to the previous or next preset number. (See "Setting radio station presets".)
When the Menu Screen is open, turn to select items and change setting values. (See "Basic Menu Screen operations".)
Button function
When the Menu Screen is open, press this to confirm selections and settings (ENTER button function).
Remote control signal receiver
Signals from the remote control (TASCAM RC-MP800) are received here. When operating the remote control, point it toward this receiver.
PHONES jack/knob
Use this standard stereo jack to connect stereo headphones.
Use a commercially-available adapter to connect headphones with a mini plug.
Use the PHONES knob to adjust the headphone output level.
PHONES jack output can be lowered up to −18 dB in 1 dB intervals using the A.Out Att. setting screen. (See "Adjusting the output level".)
ATTENTION
Before connecting headphones, minimize the volume with the PHONES knob. Failure to do so could result in a sudden loud noise that could harm hearing, for example.
REMOTE (2.5 mm TRS) jack
Connect a TASCAM RC-20 direct play remote control (sold separately) here. This remote control enables direct starting and stopping of playback and other functions.
USB AUDIO STREAM port
This is a Type-C USB port.
Audio from a computer can be output by this unit if they are connected using a commercially-available USB cable. (See "8 – USB audio streaming".)
USB FLASH DRIVE port
This is a Type-A USB port.
Connect (and disconnect) USB flash drives here. (See "Connecting and disconnecting USB flash drives".)
Bluetooth ADAPTER PORT (for connecting Bluetooth devices)
Connect a dedicated Bluetooth adapter (TASCAM AK-BT2, sold separately) here.
SD card slot
Insert SD cards in this slot. (See "Inserting and removing SD cards".)
CLEAR button
When the current source is USB or SD, press this to clear values input with number buttons.
Press to close a warning message that has appeared on the Home Screen.
When the current source is FM, press and hold this to clear all preset stations. (See "Clearing preset assignments".)
SHIFT button/indicator
Pressing and holding this button activates shift mode and lights the indicator. When shift mode is active, each button controls its shift function (blue).
SOURCE button
This opens the Source Select Screen where the current source can be switched. (See "Selecting the playback source".)
BACK [PAIRING] button
When the Menu Screen is open, press this to return to the Home Screen.
When a MENU setting screen is open, press this to go up one menu level.
When the current source is USB or SD and the play area is folder (
icon shown), press this to open the Browse Screen where files and folders can be selected. When the Browse Screen is open, this moves up one folder level. (See "Playback area".)
When the current source is BLUETOOTH, press and hold this to activate Bluetooth pairing mode. When a Bluetooth connection is active (“Connected” shown), press this to force disconnection. (See "Pairing".)
PITCH button/indicator
Press this button to open the Pitch Control Screen where the pitch control function can be set.
The indicator lights when the pitch control function is turned on. (See "Pitch control function".)
STOP button
Press to stop playback.
When the incremental playback function is on, press this button during playback to pause at the beginning of the next track. (See "Incremental playback function".)
When the current source is FM, press this to switch between frequency and preset modes. (See "Frequency selection and preset modes".)
PLAY button/indicator
Press when stopped or in playback standby to start playback.
When the incremental playback function setting is ON, press this button during playback to start playback of the next track. (See "Incremental playback function".)
This indicator lights during playback. (This indicator will not light when the playback source is Bluetooth.)
PAUSE button/indicator
Press this when playing to pause playback.
When stopped, pressing this will pause playback at the moment when sound begins in track 1 if the auto cue function is on. If the auto cue function is off, playback will be paused at the beginning of track 1.
This indicator lights when playback is paused. (This indicator will not light when the playback source is Bluetooth.)
/
[FAST] [A.CUE] [A.READY] buttons
Press and hold these buttons to search backward/forward. (See "Searching backward and forward".)
If the current source is USB or SD and the opposite search
or
button is pressed and held while searching forward or backward, this will start high-speed searching. (See "Searching backward and forward".)
When the current source is FM, press these to automatically search received frequencies. (See "Frequency selection and preset modes".)
While pressing the SHIFT button, use the
button to turn on/off the auto cue function. (See "Auto cue function".)
While pressing the SHIFT button, use the
button to turn on/off the auto ready function. (See "Auto ready function".)

ANTENNA: FM connector
Connect the included FM antenna here.
Extend the antenna and attach it to a window frame, wall or other surface where it provides the best reception.
TUNER OUT jacks
These analog RCA pin output jacks always output the sound from the tuner.
The default nominal output level is –10 dBV (OFF tuner output level setting), but it can also be lowered in 1 dB increments to −28 dBV (–18 dB tuner output level setting). (See "Adjusting the output level".)
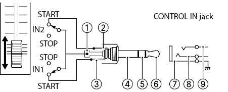
CONTROL: IN/OUT jacks
These stereo mini jacks are for control input and output.
Connect switches and indicator LEDs, for example. (See "Using the CONTROL IN/OUT jacks".)
Option slot
This slot is for installation of an Ethernet card (sold separately).
ANALOG OUT (UNBALANCED) L/R jacks
These are analog RCA pin output jacks.
The default nominal output level is –10 dBV (OFF analog output level setting), but it can also be lowered in 1 dB increments to −28 dBV (–18 dB analog output level setting). (See "Adjusting the output level".)
ANALOG OUT (BALANCED) L/R jacks
These are balanced XLR (1: GND, 2: HOT, 3: COLD) analog output jacks.
The default nominal output level is +4 dBu (OFF analog output level setting), but it can also be lowered in 1 dB increments to −14 dBu (–18 dB analog output level setting). (See "Adjusting the output level".)
AC IN connector
Connect the included power cord here.
Wireless remote control (TASCAM RC-MP800)
.jpg)
HOME/MENU button
This has the same function as the HOME/MENU button on the main unit.
button
This has the same function as the PLAY button on the main unit.
button
This has the same function as the STOP button on the main unit.
REPEAT button
Press this to turn the repeat playback function on/off. (See "Ordinary repeat playback settings".)
/
buttons
Press and hold these buttons to search backward/forward. (See "Searching backward and forward".)
When the current source is FM, press this to automatically search received frequencies for that frequency mode. (See "Frequency selection and preset modes".)
/
buttons
When the current source is USB or SD and the play area is folder (
icon shown), press the
button to open the Browse Screen where files and folders can be selected. When the Browse Screen is open, this moves up one folder level. (See "Playback area".)
When the current source is FM press the
or
button to select a preset station.
When a Menu setting screen is open, press the
button to go up one menu level.
The
button has the same function as the remote control ENTER button.
Number (0–9) buttons
When the current source is USB or SD, the number buttons can be used to select tracks by their track numbers. (See "Selecting tracks directly".)
When the current source is FM, press and hold these to recall preset stations.
PRESET button
When the current source is FM, press this to manually program preset stations. (See "Setting radio station presets manually".)
When the current source is FM, press and hold this to automatically program preset stations. (See "Setting radio station presets automatically".)
PITCH ON/OFF button
This turns the pitch control function on/off. (See "Pitch control function".)
PITCH +/− buttons
Use these to set the pitch control value. (See "Pitch control function".)
SOURCE button
This has the same function as the SOURCE button on the main unit. (See "Selecting the playback source".)
button
This has the same function as the PAUSE button on the main unit.
DISPLAY/RDS/INFO [PAIRING] button
Press during playback to show a variety of information. (See "Time and text information display".)
When the current source is BLUETOOTH, press and hold this to activate Bluetooth pairing mode. Press when pairing to end pairing mode. (See "Pairing".)
Please ignore RDS and INFO on the remote control unit. (RDS and INFO functions does not work on this unit.)
/
[
/
] buttons
When the current source is USB or SD , press these to skip tracks. (See "Skipping to earlier and later tracks".)
The operation after selection depends on the auto cue function setting. (See "Auto cue function".)
When the current source is USB or SD and the playback area is folder (
icon shown),use these to move between tracks and folders. (See "Playback area".)
When the current source is FM, use these to change the received frequency. (See "Tuning in radio stations".)
When the Menu Screen is open, use these to select items and change setting values. (See "Basic Menu Screen operations".)
ENTER button
When a Menu Screen is open, press to confirm selections and settings.
A-B REP button
When the current source is USB or SD, press this to set the A-B repeat function starting (A) and ending (B) points. (See "A-B repeat playback settings".)
P.MODE button
Press to cycle through the playback modes (continuous, single and random). (See "Playback modes".)
P.AREA button
When the current source is USB or SD, press this to set the playback area. (See "Setting the playback area".)
A.CUE button
This turns the auto cue function on and off. (See "Auto cue function".)
CLEAR button
This has the same function as the CLEAR button on the main unit.
A.READY button
This turns the auto ready function on and off. (See "Auto ready function".)
|
|
|
Home Screen when USB/SD selected |
|
|
|
Home Screen when Bluetooth selected |
|
|
|
Home Screen when FM selected |
|
|
|
Home Screen when AUDIO STREAM selected |
Current source
This shows the name of the currently selected input source. (See "Selecting the playback source".)
Playback repeat status
This shows the playback mode and repeat mode. (See "Playback modes".) (See "Repeat playback function".)
Playback file format
When the current source is USB/SD, this shows the playback file format.
Playback function setting state
The playback functions that are currently on are shown.
C: Shown when auto cue function is on
R: Shown when auto ready function is on
P: Shown when power-on-play function is on
PITCH (pitch control)
The pitch setting value is shown if the pitch control function is on. (See "Pitch control function".)
Track number
This shows the number of the currently playing track.
Elapsed time from track beginning
This shows the elapsed time from the beginning of the current track (hours: minutes: seconds).
Connection status
When the current source is “BLUETOOTH”, this shows the connection status with other Bluetooth devices and other messages.
When the current source is “AUDIO STREAM”, this shows the connection status with the computer and messages.
FM mode
If the current source is “FM”, this shows whether the reception is in stereo or mono.
|
Indicator |
Meaning |
|
None |
Stereo reception is not possible. The unit Is receiving in mono. |
|
STEREO |
The unit Is receiving in stereo. |
|
MONO |
The unit Is receiving in mono because the FM mode is set to MONO. |
Preset number
When the current source is FM in preset mode, this shows the preset number.
Frequency received
When the current source is FM, this shows the received frequency.
Press the main unit HOME/MENU button or remote control MENU button to open the Menu Screen.
The various menu items are as follows.
|
Menu item |
Function |
Refer |
|
APS Setting |
Automatic power saving function setting |
|
|
A.Out Att. |
Analog output attenuation function setting |
|
|
Tuner Out Att. |
Tuner output attenuation function setting |
|
|
Resume Setting |
Resume playback function setting |
|
|
CALL Mode |
Call function on/off setting |
|
|
Inc. Play |
Incremental playback function setting |
|
|
Auto Cue Level |
Set the auto cue level |
|
|
Fade-in |
Fade in time setting |
|
|
Fade-out |
Fade out time setting |
|
|
Key Original |
Key original function setting |
See "Key original function (changing playback speed without changing pitch)" |
|
Tuner Out Sel. |
Tuner broadcast sound output setting |
|
|
Information |
Show information about the unit |
|
|
IR Remote Lock |
Infrared remote control lock function setting |
|
|
BT Remote Lock |
Bluetooth remote control lock function setting |
|
|
Control I/O |
Control function selection |
|
|
Network Set. (When an IF-E100 Ethernet control card (sold separately) is installed) |
Network settings |
See the IF-E100 Owner's Manual for details. |
|
Factory Preset |
Restore factory default settings |
NOTE
The settings for all menu items are retained even when the unit is turned off.
Operations are conducted on the Menu Screen as follows.
Selecting items (moving vertically on a page)
Turn the MULTI JOG dial on the main unit.
Use the
/
[
/
] buttons on the remote control.
Confirming selected items
Press the MULTI JOG dial on the main unit.
Press the remote control ENTER button.
Opening a submenu not shown on screen
Press the MULTI JOG dial on the main unit.
Press the remote control ENTER button.
Selecting items in submenus
Turn the MULTI JOG dial on the main unit.
Use the
/
[
/
] buttons on the remote control.
Going back one menu level
Press the main unit BACK [PAIRING] button.
Press the remote control
button.
Returning directly to the Home Screen from a menu screen
Press the main unit HOME/MENU button.
This example explains how to set the analog output attenuation function.
1.Press the main unit HOME/MENU button or remote control MENU button to open the Menu Screen.
|
|
|
APS Setting menu item shown |
2.Turn the main unit MULTI JOG dial or use the remote control
/
[
/
] buttons to select the setting item.
|
|
|
A.Out Att. selected |
3.Press the main unit MULTI JOG dial or remote control ENTER button to open the various setting screens.
|
|
|
A.Out Att. screen open |
4.Turn the main unit MULTI JOG dial or use the remote control
/
[
/
] buttons to change the setting.
5.Press the main unit MULTI JOG dial or remote control ENTER button to confirm the setting and return to the Menu Screen.
6.Repeat steps 2 to 5 as necessary to set each item.
7.Press the main unit BACK [PAIRING] button or remote control
button to return to the Home Screen.
This is an example of MP-800U connections.
Precautions before making connections
Carefully read the operation manuals of the devices to be connected and then connect them correctly.
Before making connections, turn this unit and all equipment to be connected off (standby).
Install all connected devices, including this unit, so that they are powered from the same line. When using a power strip or similar device, be sure to use one that has high current capacity (thick cable) in order to minimize fluctuations in power voltage.

1.Open the cover on the back.
2.Insert two AAA batteries, being certain to use the correct
and
orientations.
3.Close the cover.

Replace both batteries with new ones if the distance from the main unit that the remote can be used decreases or if the unit stops responding to the remote buttons.
Misuse of batteries could cause them to leak or rupture, for example. Carefully read and follow the battery caution labels. (See "CAUTIONS ABOUT BATTERIES" on Safety guide.)
Using the wireless remote control
See "Wireless remote control (TASCAM RC-MP800)" for the button functions.
When using the remote control, point it toward the receiver on the unit and use it within the range shown below.

Remote control operation range
From any angle within 15° of front: 5 m
ATTENTION
Remove the batteries if not using the remote control for a long time (a month or more).
It battery fluid should leak, wipe away any fluid inside the case thoroughly and install a new battery.
NOTE
Operation might not be possible if there are obstacles.
When using other devices that can be controlled by infrared rays, operation of this remote control could cause those devices to function improperly.
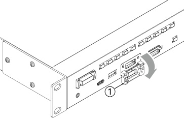
Installing a Bluetooth adapter (sold separately)
1.Turn off the unit.
2.Use a Phillips (+) screwdriver to remove the security screw and open the Bluetooth ADAPTER PORT (
) cover.

3.Remove the plug (
).

4.Insert an AK-BT2 Bluetooth adapter (
) into the Bluetooth ADAPTER PORT. (Insert the AK-BT2 so that its connector is facing down.)
5.Close the Bluetooth ADAPTER PORT (
) cover.
Close cover until it clicks into place.

You can use the security screw to lock the Bluetooth adapter port cover.
Use a Phillips (+) driver to install/remove the security screw.

Press the POWER switch on the front of the unit.
|
|
|
Startup screen |
|
|
|
Home Screen |
After the unit starts and the startup screen is shown, the Home Screen will open.
Turning the unit off
No special operations are necessary.
Press the POWER switch to turn the unit off.
ATTENTION
Do not turn the power off or disconnect the power cord when the unit is operating (including playing back). Doing so could cause, data to be lost, and sudden loud noises from monitoring equipment, which might damage the equipment, harm hearing or cause other trouble.
Adjusting the display brightness
Press the 0 (
brightness adjustment) button while pressing the SHIFT button to adjust the display and LED brightness.
The brightness will change in the following order each time this button is pressed.

Inserting and removing SD cards
Insert an SD card into the SD card slot on the front of the unit to enable playback.
NOTE
SD cards can be inserted whether or not the unit is on or off.
Inserted SD cards with the correct orientation.
The label should be up and the connector should be inserted toward the back.
Turn the unit off or stop operation before removing an SD card.
ATTENTION
Do not remove an SD card when the unit is operating (including playing back). Doing so could cause data loss and sudden loud noises from monitoring equipment, which could damage the equipment or harm hearing.
1.Press the SD card in gently to make it to come forward.
2.Pull the SD card out by hand.
Connecting and disconnecting USB flash drives
Connect a USB flash drive to the USB FLASH DRIVE port on the front of the unit to enable playback with this unit.
NOTE
You can connect a USB flash drive when the unit is on or off.
Disconnecting USB flash drives
Turn the unit off or stop operation before disconnecting a USB flash drive.
ATTENTION
Do not remove a USB flash drive when the unit is operating (including playing back). Doing so could, for example, cause data loss and sudden loud noises from monitoring equipment, which could damage the equipment or harm hearing.
Setting remote control reception
In order to prevent misoperation, the unit can be set to not accept remote control commands.
Use the IR Remote Lock and BT Remote Lock items on the Menu Screen to set whether or not the unit accepts remote control commands.
(They are set to Unlock by default.)
NOTE
If a remote control reception setting is "Lock", "IR Remote Locked" or “BT Remote Locked” will appear on the display when a remote control button is pressed.
The remote-control reception on/off setting is retained even when the unit is turned off.
Press the 1 [LOCK] button while pressing the SHIFT button to turn on/off the panel lock function, which disables operation of buttons on the front panel.
When the panel is locked, "Panel Locked" will appear on the display if a front panel button (excluding SHIFT and 1 [LOCK]) is used.
NOTE
Even when the panel is locked, external control operations will still be received through the CONTROL I/O jacks on the back of the unit, from the remote control app and through the Ethernet.
External control using a remote control app requires a TASCAM AK-BT2 Bluetooth adapter (sold separately).
External control from the Ethernet requires an optional TASCAM IF-E100 card (sold separately).
Even when the panel is locked, operations can be received from the remote control. This behavior depends, however, on the IR Remote Lock item setting on the Menu Screen.
The panel lock function on/off setting is retained even when the unit is turned off.
Use the SOURCE button on the unit or remote control to select the playback source.
1.Press the SOURCE button to open the Source Select Screen.
2.Press the SOURCE button to select the medium to use.
Pressing the SOURCE button will cycle through the options in the following order.
Source Select Screen
|
|
|
Current source switching order |
NOTE
Selection is also possible by turning the main unit MULTI JOG dial or using the remote
/
[
/
] buttons.
3.Press the main unit MULTI JOG dial or remote control ENTER button to confirm.
4.The name of the selected source (USB, SD, BLUETOOTH, FM or AUDIO STREAM) appears in the current media area on the Home Screen.
NOTE
If the SOURCE button is pressed when a file on a USB flash drive or SD card is playing or paused, “Now playing!” will appear on the display and the Source Select Screen will not open. Stop playback before doing this.
When the current source is switched from BLUETOOTH or AUDIO STREAM to another input source, the previous source will not stop even if it was playing back or paused. (Listening to Bluetooth audio requires a TASCAM AK-BT2 Bluetooth adapter (sold separately).)
The playback mode setting is not cleared when the current source changes.
This chapter explains functions for playing back audio files stored on SD cards and USB flash drives.
This explanation assumes that an SD card or USB flash drive with audio files is already loaded in the unit, that the unit is on, and that the current source is set appropriately. (See "Selecting the playback source".)
This unit can play back files in the following formats.
|
Files that can be played back |
File formats |
|
AAC |
.m4a, .M4A |
|
MP3 |
.mp3, .MP3 |
|
WAV |
.wav, .WAV |
NOTE
For information about sampling frequencies and bit rates that can be played back, see "Playback file formats" at the end of this manual. (See "Ratings".)
This display of this unit can only show half-width alphabet letters and numbers (ASCII characters). If a file name uses Japanese, Chinese or other non-ASCII characters, playback is possible but those characters will be replaced with "*" on the display.
MP3 files are recognized by the ".mp3" extension. Always add the ".mp3" extension to file names. This unit cannot play MP3 files without the “.mp3” extension. Furthermore, this unit cannot play files that have the ".mp3" extension if they are not in the MP3 data format.
WAV files are recognized by the ".wav" extension. Always add the ".wav" extension to file names. This unit cannot play WAV files without the “.wav” extension. Furthermore, this unit cannot play files that have the ".wav" extension if they are not in the WAV data format.
Media with more than 999 files or 50 folders might not play properly.
Depending on the media condition, playback might skip or not be possible.
Tracks and folders on SD cards and USB flash drives
This unit handles audio files on SD cards and USB flash drives as "tracks".
Some SD cards and USB flash drives store files in folders in the same way that ordinary computer files are handled. Some also store multiple folders within a single folder, creating a multi-level structure.
This unit assigns track numbers to audio files for management.
Track numbers are assigned in the following order.
1.Playable files in each folder are sorted in Unicode order. Folders, including empty folders and folders that do not contain playable files, are sorted in Unicode order.
2.If the root folder contains playable files, those files are assigned numbers first.
3.After all playable files in the root folder are assigned numbers, if there are lower-level folders with playable files in them, those files are assigned numbers
4.If there are more folders at an even lower level with playable files in them, those files are assigned numbers If there are no folders in the lower level, the unit searches for folders on the same level, and then assigns numbers to the files in those folders.
During continuous playback of SD cards and USB flash drives, tracks are played in numerical order.
Folders and files are sorted in UNICODE order.
|
|
|
Track and folder structure example |
The range of tracks that can be selected for playback on the Home Screen is called the "playback area".
When using SD cards and USB flash drives, you can set folders as the playback area.
Limiting the playback area makes selection of playback tracks easier when you have numerous recorded files on an SD card or USB flash drive.
When the current source is USB or SD, to set the playback area, press the 9 [P.AREA] button while pressing the SHIFT button or press P.AREA on the remote control.
|
Playback area |
Folder icon |
Meaning |
|
All |
Not shown |
Play all the files on the medium. |
|
Folder |
Indicator |
Play all the files in the folder that contains the currently selected file. |
The
icon appears at the right side of the Home Screen when the playback area is folder.

This is an explanation of how to select tracks if there are multiple tracks in the playback area of the current source when it is USB or SD.
This explanation assumes that you have already made necessary connections, turned the unit on, loaded a medium that contains audio files, selected the current source, and opened the Home Screen on the display.
Press the main unit PLAY button or the remote control
button to start playback.
Stopping playback
Press the main unit STOP button or remote control
button.
When the resume function is on, playback will stop at that point and the track number and time information will show the resume point.
When the resume function is off, playback will stop at the track beginning and “0:00:00” will be shown for the track elapsed time.
If the type of information displayed is not track elapsed time, this will vary according to the type.
Pausing playback
Press the main unit PAUSE button or remote control
button.
This is an explanation of how to select tracks if there are multiple tracks in the playback area of the current source when it is USB or SD.
The two ways to select tracks are moving (skipping) backward/forward by track number and specifying track numbers directly.
Skipping to earlier and later tracks
Turn the main unit MULTI JOG dial or use the remote control
/
[
/
] buttons to skip to the previous or next track.
During track playback, turn the main unit MULTI JOG dial counterclockwise or press the remote control
[
] button to return to the track beginning. When already at the beginning of a track, turn the MULTI JOG dial counterclockwise or press the remote control
[
] button) to skip to the beginning of the previous track.
When at the beginning or middle of a track, turn the main unit MULTI JOG dial clockwise or press the remote control
[
] button) to skip to the next track.
After selecting a track, press the PLAY button or remote control
button to start playing it back. To pause at the beginning of the selected track, instead of pressing the main unit PLAY button or remote control
button, press the main unit PAUSE button or remote control
button.
The operation after selection depends on the auto cue function setting. (See "Auto cue function".)
NOTE
Only tracks in the current playback area can be played back.
The track number, file name and other file information for the currently playing file appear on the display.
Turn the main unit MULTI JOG dial or use the remote control
/
[
/
] buttons as necessary to move between tracks.
The number buttons on the main unit and the remote control can be used to directly enter track numbers.
Track numbers can have up to 3 digits.
1.Use the number buttons on the main unit or the remote control to enter track numbers.
Enter the track number digits in order, starting with the largest.
Set with three digits.
Example 1: for track 105, input 1
0
5
Example 2: for track 4, input 0
0
4
2.Press the main unit PLAY button or remote control
button.
The selected track will start to play.
Playback can also be started by pressing the main unit MULTI JOG dial or remote control ENTER button.
3.Press the main unit STOP button or remote control
button to end track number input and return to the regular display.
NOTE
If you input the wrong number, you can press the CLEAR button to delete the input value.
The largest number that can be shown for the currently playing track is 999.
In random mode, the number buttons cannot be used to set tracks.
Numbers for tracks that do not exist cannot be input.
Moving between folders and tracks
When the current source is USB or SD and the playback area is folder (
icon shown), the selected folder (the current folder) can be set as the playback area.
In the procedure explained below, you can select a track and set the folder that contains that track as the current folder.
1.Select USB or SD as the current source. (See "Selecting the playback source".)
2.Set the playback area to folder (
icon shown). (See "Setting the playback area".)

3.Press the main unit BACK/PAIRING button or remote control
button to open the BROWSE Screen where tracks and folders can be selected.
The name of the current file will be shown on the top line of the Home Screen, and the
will blink.

NOTE
To cancel track/folder selection, press the CLEAR button on the main unit or remote control.
If a folder that does not contain any audio files is selected, “NO FILE” will be shown. At this time, if the main unit MULTI JOG dial is turned or a
/
[
/
] button is pressed, the name of the currently selected file will be shown and movement might become impossible. If this happens, press the CLEAR button on the main unit or remote control to cancel selection. Then, try again.
4.Turn the main unit MULTI JOG dial or use the remote control
/
[
/
] buttons to select tracks and folders.

5.When a folder is selected and the
icon is blinking, press the main unit MULTI JOG dial or remote control ENTER button to move down one level.

TIP
To move down one level, select a folder and press the main unit MULTI JOG dial or remote control ENTER button.
To move up one level, press the main unit BACK [PAIRING] button or remote control
button.
6.To start playback from the beginning of the selected file when a track is selected and the
icon is blinking, press the main unit PLAY button or the remote control
button. To restart playback from the beginning of the selected file while it is playing, press the main unit MULTI JOG dial or the remote control ENTER button.
At this time, the auto cue and auto ready functions will not work even if they are on.
To pause playback at the beginning of the selected file, press the main unit PAUSE button or the remote control
button. To pause at the beginning of the selected file when already paused, press the main unit MULTI JOG dial or the remote control ENTER button. The auto cue function will work if it is on.
To pause playback at the beginning of the selected file, when stopped, press the main unit MULTI JOG dial or the remote control ENTER button.
In all cases, the folder that contains the selected track becomes the current folder.

NOTE
If repeat playback is activated during folder playback, the tracks in the current folder will be played repeatedly.
If random playback is activated during folder playback, the tracks in the current folder will be played randomly.
This unit has three playback modes.
The current playback mode is shown on the Home Screen.
Continuous playback mode (default setting)
Tracks in the playback area will be played in track number order.
NOTE
When using an SD card or USB flash drive and the playback area is folder (
icon shown), tracks in the currently playing folder will be played in numerical order.
Single playback mode
The selected track will be played and stop after playback.
Random playback mode
When playback of a track completes or tracks are skipped, for example, a track will be selected randomly from all tracks in the playback area and played back. This will repeat until playback is stopped or paused. When random mode is selected, the same track might play twice in a row.
NOTE
When using an SD card or USB flash drive and the playback area is folder (
icon shown), tracks in the current folder will be played in random order. (See "Moving between folders and tracks".)
Press the 3 [P.MODE] button while pressing the SHIFT button or the remote control P.MODE button to change the playback mode.
Each time you press this button, the playback mode will change.
|
Indicator |
Playback mode |
|
Not shown |
Continuous playback mode |
|
1 |
Single playback mode |
|
RND |
Random playback mode |
|
|
|
Single playback mode active |
|
|
|
Random playback mode active |
NOTE
Unless otherwise specified, explanations in this manual assume that the playback mode is set to continuous playback mode.
The current playback mode appears on the Home Screen.
Searching backward and forward
You can search backward and forward within a track while listening to it.
1.Play or pause the desired track.
2.Press and hold the main unit
/
[FAST] buttons or the remote control
/
buttons to start searching backward/forward.
3.To stop searching, release the button you are pressing.
The state (playing or paused) before searching started will resume.
NOTE
If the end of a track is reached when searching forward, the unit skips to the next track and starts searching it from the beginning.
If the end of the last track is reached when searching forward, the unit stops.
If the beginning of a track is reached when searching backward, the unit skips to the track before it and starts searching it from the end.
If the beginning of the first track is reached when searching backward, playback pauses, but will resume when the button is released.
When searching backward/forward by pressing the
/
button, press and hold the other
/
button for the opposite direction to search at high speed. (This function only works with the main unit buttons.)
The auto ready function will not work while searching.
All tracks in the playback area can be played back repeatedly. Specified intervals within a track can also be played back (A-B repeat playback).
Ordinary repeat playback settings
When the repeat playback function is on, operation depends on the playback mode setting.
|
Playback mode setting |
Function |
|
Continuous playback mode |
Repeat playback of the tracks in the set playback area |
|
Single playback mode |
Repeat playback of the current track |
To turn the repeat playback function on/off, press the 4 [REPEAT] button while pressing the SHIFT button, or press the remote control REPEAT button.
"REP" appears on the Home Screen when the repeat function is on.
|
|
|
Continuous playback mode active |
|
|
|
Single playback mode active |
NOTE
The repeat playback setting is retained even when the unit is turned off.
The repeat playback function cannot be turned on when the random playback mode is active (RND shown on display).
Specified intervals within a track can be played back (A-B repeat playback). Follow the procedures below to use A-B repeat playback.
1.Select USB or SD as the current source. (See "Selecting the playback source".)
2.When playing back or in playback standby, at the desired starting point (A) for the repeat playback interval, press the 5 [A-B REP] button while pressing the SHIFT button, or press the remote control A-B REP button.
"A-" appears on the Home Screen.

3.At the desired ending point (B) for the repeat playback interval, press the 5 [A-B REP] button while pressing the SHIFT button, or press the remote control A-B REP button.
"A-B" appears on the Home Screen.
This confirms the set interval (A-B) and starts A-B repeat playback.

NOTE
Press the main unit STOP button or remote control
button to stop the unit and clear the set A-B repeat interval. Changing the track or the current source will also clear the repeat interval.
The A-B repeat playback interval cannot include more than one track.
The A-B repeat setting is not retained when the unit is turned off.
If the auto cue function is on, when a track is selected, the unit will skip any silence at the beginning of the track and pause at the point where sound actually starts. As a result, sound will be output immediately after playback starts.
NOTE
When the auto cue function is on, operation will be as follows.
If a track is selected by directly entering its number with the unit or the remote, it will start playing that track normally from its beginning.
If the main unit PAUSE button or remote control
button is pressed and a track Is selected, playback will be paused at the point where the signal actually starts.
Tracks will also start playing that track normally from its beginning if a TASCAM RC-20 is used to directly play files.
If the unit is turned on when the power-on-play function is on, playback will start from the beginning of the track as normal.
If playback starts when the resume function is on, playback will start from the resume point as normal.
If a track is selected, playback will pause at the point where the signal actually starts.
To turn on/off the auto cue function, press the
[FAST] [A.CUE] button while pressing the SHIFT button, or press the remote control A.CUE button.
"C" appears at the top right of the Home Screen when the auto cue function is on.

The threshold level (auto cue level) for audio signal detection used by the auto cue function can be set. The unit will treat signals above the auto cue level as sound and signals below the auto cue level as silence.
1.Select the Auto Cue Level item on the Menu Screen to open the Auto Cue Level Screen. (See "Menu operation procedures".)

2.Set the auto cue level.
|
Options: |
−24dB, −30dB, −36dB,−42dB, −48dB, −54dB (default), −60dB, −66dB, −72dB |
The point in the selected track when the signal first exceeds the auto cue level will be identified as the cue point.
3.Confirm the setting and return to the Menu Screen.
NOTE
The auto cue level setting is retained when the unit is turned off.
If the auto ready function is on, after playback of a track completes, playback will pause at the beginning of the next track.
When the unit is turned on, playback will pause at the beginning of the first track if the resume function is off or at the resume point if the resume function is on.
If media is loaded or the source is changed and becomes USB or SD, playback will pause at the beginning of the first track.
NOTE
If the auto cue function is also on, playback will pause at the point where sound starts rather than the beginning of the track.
This function will be disabled if the unit is turned on when the power-on-play function is on, if a track is selected directly, or if a file is moved to in folder mode.
To turn on/off the auto ready function, press the
[FAST] [A.READY] button while pressing the SHIFT button, or press the remote control A.READY button.
"R" appears at the top right of the Home Screen when the auto ready function is on.

NOTE
The auto ready function on/off setting is retained when the unit is turned off.
When an SD card or USB flash drive is loaded, playback will pause.
If the call function is on, pressing the main unit STOP button or the remote control
button will return to the point where playback was most recently paused (call point) and pause again.
The following actions will clear the call point.
Turning the unit off
Disconnecting the current media
Changing the current source
Changing the playback mode
NOTE
The call function on/off setting is retained when the unit is turned off.
This function can change the pitch (sound frequency and playback speed) of playback.
Follow the procedures below to use pitch control.
1.Press the PITCH button.
This opens the Pitch Control Screen.

2.Turn the main unit MULTI JOG dial (or use the remote control PITCH + and − buttons) to set the pitch.
Setting range: −16% – +16% (1% increments)
3.Press the main unit PITCH button (or remote control PITCH ON/OFF button) to turn on/off the pitch control playback function.
4.Press the PITCH button to return to the Home Screen.
When the pitch control function is on, the PITCH indicator will light and the current pitch setting value will be shown.

When PITCH is set to 0

NOTE
Using the remote control, the pitch control function can be turned on/off and its value set without opening the Pitch Control Screen.
Key original function (changing playback speed without changing pitch)
When the playback speed is changed using the pitch control function, normally the pitch changes along with the speed.
When the key original function is on, the pitch will not change when the playback speed is changed.
Use the menu to turn the key original function on/off.
1.Select the Key Original item on the Menu Screen to open the Key Original Screen. (See "Menu operation procedures".)

2.Turn the key original function on/off.
Options: OFF, ON (default)
3.Confirm the setting and return to the Menu Screen.
NOTE
The key original function on/off setting is retained when the unit is turned off.
Fade-in and fade-out playback functions
When playing files on SD cards and USB flash drives, playback can fade in at the start and fade out before stopping or pausing.
The fade in and fade out times can be set in seconds separately.
Fade-in/out has no effect when playback of one track completes and the next track starts.
Fade-outs will not occur in the following cases.
After skipping during playback
When a different track is selected directly during playback and that track is played
When a different track is selected from the Browse Screen and played during playback in folder mode
1.Select the Fade In item on the Menu Screen to open the Fade In Screen. (See "Menu operation procedures".)

2.Set the fade in time.
Options: OFF (default), 0.5 – 10 seconds (in 0.5-second increments)
3.Confirm the setting and return to the Menu Screen.
NOTE
The fade in time is retained when the unit is turned off.
1.Select the Fade Out item on the Menu Screen to open the Fade Out Screen. (See "Menu operation procedures".)

2.Set the fade out time.
Options: OFF (default), 0.5 – 10 seconds (in 0.5-second increments)
3.Confirm the setting and return to the Menu Screen.
NOTE
The fade out time is retained when the unit is turned off.
Using the power-on-play function
By using a commercially-available timer, for example, to turn this unit on, you can make it start playing at a desired time.
1.Connect the unit to the timer so that it receives power from the timer power output in advance.
2.Select the current source for playback. (See "Selecting the playback source".)
3.Press the main unit 2 [P.O.PLAY] button while pressing the SHIFT button or press the remote control P.O.PLAY button to turn on the power-on-play function. (Default: off)

4.With this unit's POWER switch set to on, turn the power off from the timer, and set the timer to turn on at the desired time.
The power will turn on at the desired time, and the unit will automatically start playback.
NOTE
The P icon appears on the Home Screen when the power-on-play function is on.

The power-on-play function on/off setting is retained even when the unit is turned off.
When the power-on-play function is on, it will be prioritized even if the auto cue or auto ready function is also on, so playback will start automatically when the unit is turned on.
When the resume playback function is on, playback can be restarted from the point where it was last stopped or paused (resume point).
When stopped or playback is paused, the time in the track shown becomes the resume point.
If tracks are skipped or otherwise moved between, the resume point is updated to the destination position.
The following actions will clear the resume point.
The medium is ejected
The playback area is changed
If the playback area is switched, or the playback mode is changed to random, the resume point will be cleared but the playback track will not be changed. For this reason, if the PLAY button is pressed without selecting another track, playback will start from the beginning of the track that had the resume point.
Use the menu to turn the resume playback function on/off.
1.Select the Resume Setting item on the Menu Screen to open the Resume Setting Screen. (See "Menu operation procedures".)

2.Turn the resume playback function on or off.
Options: OFF, ON (default)
3.Confirm the setting and return to the Menu Screen.
NOTE
If there is no resume point (no time has been set as the resume point), the beginning of the playback track will become the resume point.
The resume playback function on/off setting is retained even when the unit is turned off.
When the incremental playback function is on, press the main unit PLAY button or remote control
button during playback to start playback from the beginning of the next track. Press the main unit STOP button or remote control
button during playback to pause at the beginning of the next track.
1.Select the Inc. Play item on the Menu Screen to open the Inc. Play Screen. (See "Menu operation procedures".)

2.Turn the incremental playback function on or off.
Options: OFF (default), ON
3.Confirm the setting and return to the Menu Screen.
NOTE
When the incremental playback function is on and playback is paused, press the main unit PLAY button or remote control
button to start playback from where it is paused.
When playback is paused, press the main unit STOP button or remote control
button to stop playback. When the last track is playing back, press the main unit PLAY button or remote control
button to start playback from the beginning of the first track in the playback area. Press the main unit STOP button or remote control
button to pause at the first track in the playback area.
The incremental play function on/off setting is retained even when the unit is turned off.
When the auto cue function is on, playback will pause at the point when sound starts if the main unit STOP button or the remote control
button is pressed as well as if the main unit PLAY or the remote control
button is pressed.
Time and text information display
When the current source is USB or SD, press the main unit DISPLAY button or remote control DISPLAY/RDS/INFO [PAIRING] button to select the time or text information shown on the Home Screen.
Press the main unit DISPLAY button or remote control DISPLAY/RDS/INFO [PAIRING] button to cycle through the types of information shown.
The types of information shown change according to the type and status of the media set as the current source as well as the unit operation status.
When playing back, paused or stopped, the displayed information can be cycled through in this order: track elapsed time, name of current track file, title of current track, name of current track artist, name of current track album, folder name.
|
Indicator |
Meaning |
|
Not shown |
Track elapsed time |
|
“–” to left of time |
Track remaining time |
|
FILE |
File name of current track |
|
TITLE |
Title of current track |
|
ARTIST |
Name of current track artist |
|
ALBUM |
Name of current track album |
|
FOLDER |
Folder name |
NOTE
MP3 ID3 tag data can be used for the text information shown on the display. WAV and AAC tag data cannot be shown.
If this is information is not stored with the file, nothing will appear after TITLE: and ARTIST:.
If characters that cannot be displayed are included in the data, they will be replaced with "*".
The content displayed is set to “Not shown” when the unit is turned off.
On SD cards and USB flash drives written by Mac computers, the numbers of tracks in folders and the track numbers might not match. This is an existing problem in Mac system files, but it does not affect playback by this unit.
“999:59” will continue to be shown if the elapsed track time exceeds this time.
Connecting an AK-BT2 Bluetooth adapter (sold separately) to the Bluetooth device port on this unit enables the output of audio from smartphones, tablets, computers and other devices that support Bluetooth (A2DP).
If the Bluetooth device supports AVRCP, the PLAY button and other controls on this unit can be used to control playback on the Bluetooth device.
Install the AK-BT2 Bluetooth adapter beforehand, referring to "Installing a Bluetooth adapter (sold separately)".
Bluetooth connection with the TASCAM MEDIA CONTROL CENTER app is necessary to use it with this unit. (See "6 – Remote control functions".)
Follow the procedures below to enable communication with a Bluetooth device.
NOTE
Pairing also requires operation of the Bluetooth device.
Refer to the operation manual of the Bluetooth device for procedures.
1.Select BLUETOOTH as the current source. (See "Selecting the playback source".)
At this time, confirm that “No Connection” is shown.
If “No Device” is shown, an AK-BT2 Bluetooth adapter is not installed or has not been recognized properly. Correctly insert an AK-BT2 into the Bluetooth ADAPTER PORT.
If “Need AK-BT2” is shown, an AK-BT1 Bluetooth adapter, which is not compatible with audio output, is installed. Correctly insert an AK-BT2 Bluetooth adapter into the Bluetooth ADAPTER PORT.
2.Press and hold the main unit BACK [PAIRING] button or remote control DISPLAY/RDS/INFO [PAIRING] button.
A "PAIRING" message will blink on the display.

3.Enable Bluetooth transmission on the other Bluetooth device.
4.Select this unit (MP-800U_----1) on the other Bluetooth device.
When pairing succeeds, this unit and that device will be connected and "Connected" will appear on the Home Screen.

NOTE
This unit saves information about Bluetooth devices after pairing with them once. This enables the unit to search for and automatically connect to other Bluetooth devices when it is turned on.
If a Bluetooth device that has been paired once before does not connect automatically, the maximum number of Bluetooth devices that this unit can remember may have been exceeded. If this happens, restore the unit to its factory default state and clear the Bluetooth device records. (See "Restoring factory default settings".)
Simultaneous connection with another device is not possible. Use one-to-one connection.
This unit will be shown with the name “MP800U_----” on the other Bluetooth device. “----” is the product serial number.
This makes it possible to identify units.
In addition, the name of this unit can be changed using the functions of iOS, iPadOS and Android devices. 2 However, this changed name will only be used on that iOS, iPadOS or Android device. Be aware that this will not change the name shown on other Bluetooth devices.
Some older Bluetooth devices require the input of a passkey. Enter "0000" in such cases.
Pairing will automatically end if connection is not confirmed within two minutes.
When this unit is turned on, it will automatically try to connect with the Bluetooth device to which it was previously connected. At this time, pairing will automatically end after five minutes if connection is not possible because that Bluetooth device is not turned on or its Bluetooth function is turned off.
1 “----” is a 4-digit hexadecimal number
2 Check the operation procedures for the name changing functions of each device.
Controls on the main unit and included wireless remote control (TASCAM RC-MP800) can be used to control the connected Bluetooth device if it supports AVRCP.
|
Main unit |
Remote control |
Function |
|
PLAY button |
|
Playback |
|
PAUSE button |
|
Pause playback |
|
STOP button |
|
Stop (or pause in some playback apps) |
|
Turn MULTI JOG dial |
|
Selects tracks |
|
|
|
Searching backward and forward |
NOTE
Operation might not occur properly depending on the connected Bluetooth device.
Playback from Bluetooth devices
After pairing with the other Bluetooth device in advance, follow the procedures below for playback from it.
1.Select BLUETOOTH as the current source. (See "Selecting the playback source".)
2.Connect to "MP800U_----" (this unit) on the other Bluetooth device.
"Connected" appears on the Home Screen when connection completes.
Controls on the main unit and included wireless remote control (TASCAM RC-MP800) can be used to control the connected Bluetooth device, and this unit can output the playback sound from the Bluetooth device.
NOTE
PLAY and PAUSE indicators on this unit will not light during playback or when playback is paused on a Bluetooth device.
Devices that are currently connected by Bluetooth can be disconnected.
1.Select BLUETOOTH as the current source. (See "Selecting the playback source".)
2.Press and hold the main unit BACK [PAIRING] button or remote control DISPLAY/RDS/INFO [PAIRING] button.
A "Disconnect?" message will appear on the display.

3.Press the main unit JOG wheel or remote control ENTER button to end the Bluetooth connection.
Press the main unit or remote control CLEAR button to cancel ending the Bluetooth connection.
By connecting an AK-BT2 Bluetooth adapter (sold separately) to the Bluetooth device connector of this unit, the TASCAM MEDIA CONTROL CENTER app can be used on an iOS/iPadOS/Android device to control this unit.
|
Connection operations are not guaranteed with all devices that support Bluetooth. TEAC CORPORATION will bear no responsibility should any data loss occur when using Bluetooth functions. |
NOTE
Install the AK-BT2 Bluetooth adapter beforehand, referring to "Installing a Bluetooth adapter (sold separately)".
The unobstructed transmission distance of the AK-BT2 Bluetooth adapter is about 10 m. (The transmission distance is only an estimate. The transmission distance may vary depending on the surrounding environment and radio wave conditions.)
Separate audio (A2DP) pairing with a Bluetooth device must be conducted to use Bluetooth audio with this unit. (See "5 – Bluetooth device playback".)
Installing the dedicated control app
1.Connect the device to the Internet.
2.Search for “TASCAM MEDIA CONTROL CENTER” on Google Play for an Android device or on the App Store for an iOS device. Then, download and install it.
Please be aware that you are responsible for any transmission costs related to Internet connection.
Connecting with the dedicated control app
1.Enable Bluetooth connection on the smartphone or tablet.
2.Use the smartphone or tablet to launch TASCAM MEDIA CONTROL CENTER.
|
|
|
|
|
Bluetooth device screen |
If the unit is not turned on, turn it on.
NOTE
When using an Android device, set Location to “On”, and set “Location permission” for TASCAM MEDIA CONTROL CENTER to “Allow” or “Allow only while in use”.
See the TASCAM MEDIA CONTROL CENTER operation manual for details about using the control app.
Password setting
Set the password (default: None).
Input up to 11 characters, using only numbers.
1.Select BT Password on the Menu screen to open the BT Password screen.

2.Use the number buttons on the main unit or the remote control to input the password.
The blinking character shows the cursor (editing point) where a number can be input.
Turn the MULTI JOG dial or press the
/
[
/
] remote control buttons to move the cursor.
3.Press the main unit MULTI JOG dial or remote control ENTER button to confirm the setting and return to the Menu screen.
NOTE
The Password setting is retained even when the unit is turned off.
Press the CLEAR button to delete characters. All the numbers to the right of the cursor (editing point) will be deleted.
Press the BACK [PAIRING] button to return to the Menu screen without changing the setting.
This unit can be used to listen to FM radio.
The following instructions assume that the current source has been set to "FM". (See "Selecting the playback source".)
Frequency selection and preset modes
Press the main unit STOP or remote control
button to switch between frequency selection mode (preset numbers not shown) and preset mode (preset numbers shown).
When in preset mode, "PXX" appears on the Home Screen.

Changing the frequency
Raising the received frequency
When in frequency selection mode, turn the main unit MULTI JOG dial clockwise or use the remote control
[
] button to raise the received frequency by one step.
When in frequency selection mode, press the main unit
[FAST] button or remote control
button to automatically search for received frequencies in the higher direction.
Lowering the received frequency
When in frequency selection mode, turn the main unit MULTI JOG dial clockwise or use the remote control
[
] button to lowers the received frequency by one step.
When in frequency selection mode, press the main unit
[FAST] button or remote control
button to automatically search for received frequencies in the lower direction.
Press the main unit 8 [FM MODE] button while pressing the SHIFT button or press the remote control FM MODE button to switch between stereo and mono reception.

STEREO (stereo, default)
The unit will receive stereo FM broadcasts in stereo.
If reception is poor, switch to MONO (mono) reception.
MONO (mono)
The unit will receive FM broadcasts in mono. When the reception of an FM stereo broadcast is poor, select this mode. The sound becomes mono, but noise is also reduced, making it sound better.
NOTE
Mono reception mode will automatically be disabled when the received frequency is changed.
When stereo reception is not possible, reception will occur in mono. In this case, however, neither STEREO nor MONO will be shown.
This unit can save up to 20 stations as presets.
NOTE
Unless the preset memory is cleared, preset radio stations will be retained even when the unit is turned off. (See "Clearing preset assignments".)
Setting radio station presets automatically
1.Select the current source for the presets (FM). (See "Selecting the playback source".)
2.Press the 6 [A.PRESET] button while pressing the SHIFT button, or press and hold the remote control PRESET button.
The following message will appear on the Home Screen.

3.Press the main unit MULTI JOG dial or remote control ENTER button to start automatically setting presets.

The unit will automatically search for radio stations and set them in order, starting with preset 01 (P01). The unit will stop automatically adding presets when 20 have been added or the reception frequency range has been searched completely.
Setting radio station presets manually
1.Select the current source for the presets (FM). (See "Selecting the playback source".)
2.Tune in the station that you want to add as a preset. (See "Frequency selection and preset modes".)
3.Press the 7 [M.PRESET] button while pressing the SHIFT button, or press the remote control PRESET button.
"P01" will blink at the top of the Home Screen.

NOTE
The blinking "P01" will disappear after some time passes.
When an * is shown, that preset number already has a set station.
4.Turn the main unit MULTI JOG dial or use the remote control
/
[
/
] buttons to select the preset number to assign.
5.Press the main unit MULTI JOG dial or remote control ENTER button to confirm the preset.
When in preset mode, turn the main unit MULTI JOG dial or use the remote control
and
buttons to select a preset station.
You can also use the main unit or remote control number buttons to directly enter a preset number, and press the ENTER button to select that station.
1.Select the current source for the preset to be cleared (FM). (See "Selecting the playback source".)
2.Press and hold the main unit or remote control CLEAR button.
The following message will appear on the Home Screen.
|
|
|
Before clearing FM station presets |
3.Press the main unit MULTI JOG dial or remote control ENTER button.
After all preset assignments for the current source have been cleared, the Home Screen reopens.
NOTE
Press the main unit or remote control CLEAR button to cancel the operation and return to the Home Screen.
Setting the tuner broadcast outputs
You can set whether tuner broadcast signals are output from the TUNER OUT jacks only or from all the main unit jacks (TUNER OUT, ANALOG OUT and PHONES jacks).
1.Select the Tuner Out Sel. item on the Menu screen to open the Tuner Out Sel. screen. (See "Menu operation procedures".)

2.Set the outputs for sounds from the tuner.
|
Options |
Meaning |
|
TUNER OUT |
Tuner broadcasts sounds are output only from the TUNER OUT jacks. |
|
ALL (default) |
Tuner broadcast signals are output from all the main unit jacks (TUNER OUT, ANALOG OUT and PHONES jacks). |
3.Confirm the setting and return to the Menu Screen.
NOTE
The tuner audio output setting is retained even when the unit is turned off.
USB audio can be output from this unit by connecting it to a computer using a USB cable.
ATTENTION
The unit should be connected directly to the computer, not through a USB hub.
NOTE
Audio played by this unit cannot be sent to the computer.
Select a USB cable to connect this unit to the computer that suits the computer and OS being used. Connect this unit to a USB 2.0 or USB 3.0 port on the computer.
A USB cable must be prepared to connect this unit to a computer (Windows/Mac). (See "USB cables".)
We recommend turning this unit off before connecting or disconnecting USB cables.
Outputting audio played back on a computer from this device
1.Turn the computer on.
Confirm that the operating system has started up normally.
2.Press the POWER switch to turn on the unit.
3.Select AUDIO STREAM as the current source. (See "Selecting the playback source".)
4.Start playback of an audio file on the computer.
To use headphones with this unit, after connecting them, turn the PHONES knob counterclockwise to minimize the volume before putting them on. Then, gradually raise the volume.
This unit cannot be controlled from the computer, nor can it control the computer.
When playing an audio file over a USB connection, do not do the following. Doing these operations could cause the computer to malfunction. Always quit music playback software before doing these operations.
Disconnect the USB cable
Put this unit into standby or turn it off
Change the input of this unit
If you connect this unit to the computer or set its current input source to “AUDIO STREAM” after launching music playback software, music files might not play back properly. If this happens, restart the music playback software or restart the computer.
Automatic power saving function setting
When the automatic power saving function is on, the unit will enter standby mode under the following conditions.
If 30 minutes pass while stopped or paused when the current source is USB or SD.
If 30 minutes pass without pairing when the current source is BLUETOOTH.
If 8 hours pass when the current source is AUDIO STREAM, regardless of whether or not there is an input signal.
NOTE
When the current source is FM, the unit will not enter standby even if the automatic power saving function is on.
1.Select the APS Setting item on the MENU screen to open the APS Setting screen. (See "Menu operation procedures".)

2.Turn the automatic power saving function on/off.
Options: OFF, ON (default)
3.Confirm the setting and return to the Menu Screen.
Press any button to awaken the unit from standby.
NOTE
Pressing the POWER switch when in standby will turn the power off. Press any button instead to awaken the unit from standby.
If the sound distorts when the output destination device for this unit is at maximum output level, adjust the analog output level function and tuner output level adjustment of this unit to reduce the output level so that it does not distort.
1.To adjust the analog output level, select the A.Out Att. item on the MENU screen to open the A.Out Att. Screen.
To adjust the tuner output level, select the Tuner Out Att. item to open the Tuner Out Att. Screen. (See "Menu operation procedures".)


2.Set the analog output or tuner output level.
Options: OFF (default), −1dB – −18dB (in 0.5 dB intervals)
3.Confirm the setting and return to the Menu Screen.
NOTE
This adjusts the output level from the ANALOG OUT (UNBALANCED) L/R, ANALOG OUT (BALANCED) L/R and PHONES jacks. They cannot be set independently.
Using the CONTROL IN/OUT jacks
By connecting other devices to the CONTROL IN and OUT jacks, playback, pausing and stopping can be controlled externally. PLAY, PAUSE and STOP tallies can also be output.
The IN/OUT TRS jacks are TIP: IN/OUT 1 and RING: IN/OUT 2.
The functions of IN 1, IN 2, OUT 1 and OUT 2 can be set separately.
By connecting an external fader switch, fader starting and stopping can be enabled.
Wire the fader switch and a 3.5 mm mini plug as shown below and connect the 3.5 mm mini plug to the CONTROL IN jack on the back of this unit.

|
|
|
|
|
|
|
|
|
|
|
|
When using IN 1 for fader start
Playback will start if put to the START side (connection made) when paused.
If playing, playback will pause when it becomes open (connection broken). When the incremental playback function is on, playback will pause at the beginning of the next track. If the call function is on, this will return to the point where playback was most recently paused (call point) and pause again.
To use IN 2, conduct wiring in a similar manner with the RING.
1.Select the Control I/O item on the Menu Screen to open the Control I/O Screen. (See "Menu operation procedures".)

2.On the Control I/O Screen, select the desired jack (IN1 or IN2) to open its settings screen.

3.Set it to FADER.
Options: OFF (default), FADER, PLAY, STOP, PAUSE
4.Confirm the setting and return to the Menu Screen.
Playback, pausing and stopping can be controlled for this unit using the CONTROL IN jack.
The IN jack operates with active low external command reception (30 ms or longer ground).
Connect to the TIP of the CONTROL IN jack to use IN 1. Connect to the RING to use IN 2. In addition, connect the SLEEVE to ground.
1.Select the Control I/O item on the Menu Screen to open the Control I/O Screen. (See "Menu operation procedures".)

2.On the Control I/O Screen, select the desired jack (IN1 or IN2) to open its settings screen.

3.Set the desired function.
Options: OFF (default), FADER, PLAY, STOP, PAUSE
See "Fader start/stop" for details about FADER.
4.Confirm the setting and return to the Menu Screen.
Tally output of playback, pausing and stopping by this unit is possible using the CONTROL OUT jack.
The OUT jack sends transport status display signals by open collector (10 Ω output impedance, 15 V withstand voltage, 35 mA maximum current).
OUT 1 is output from the TIP of the CONTROL OUT jack and OUT 2 is output from the RING. In addition, connect the SLEEVE to ground.
1.Select the Control I/O item on the Menu Screen to open the Control I/O Screen. (See "Menu operation procedures".)

2.On the Control I/O Screen, select the desired jack (OUT1 or OUT2) to open its settings screen.

3.Set the desired function.
Options: OFF (default), Play Tally, Stop Tally, Pause Tally
4.Confirm the setting and return to the Menu Screen.
NOTE
Output will not occur during preliminary operations, including when reading files.
By connecting an RC-20 (sold separately), tracks on USB/SD media can be played directly.
RC-20 buttons can be used to start playback directly for the first twenty tracks in ASCII order on USB/SD media.
1.Select USB or SD as the current source. (See "Selecting the playback source".)
2.Press a number key on the RC-20.
The track assigned to that button will start playing.
3.Press the STOP button to stop playback.
The system firmware versions and serial number used by the unit can be checked.
1.Select the Information item on the Menu Screen to open the Information confirmation screen. (See "Menu operation procedures".)

The Information confirmation screen shows the main system and sub system firmware versions along with the serial number.
Turn the main unit MULTI JOG dial or use the remote control
/
[
/
] buttons to switch between showing MAIN, SUB and S/N.

2.Press the main unit MULTI JOG dial or remote control ENTER button and return to the Menu Screen.
Restoring factory default settings
You can restore the various settings stored in the backup memory of the unit to their factory default values.
Use the following menu procedures to do so.
1.Select the Factory Preset item on the Menu Screen. (See "Menu operation procedures".)
2.Press the main unit MULTI JOG dial or remote control ENTER button.
A confirmation message will appear.

NOTE
To cancel, press the main unit CLEAR button.
3.Press the main unit MULTI JOG dial or remote control ENTER button to reset the unit to its factory settings.
Turn the power off and on again.
If you are having trouble with the operation of this unit, please try the following before seeking repair.
If these measures do not solve the problem, please contact the store where you purchased this unit or TASCAM customer support service.
The unit will not turn on
Confirm that the power plug and other connectors are inserted completely.
Media are not recognized
Confirm that the SD card or USB flash drive is inserted securely.
Stop playback or recording once.
The unit does not function
Confirm that the lock function is not on.
The remote control (TASCAM RC-MP800) does not function
Is the remote control reception setting set to "Lock"?
Confirm that a battery is installed and has not died.
Playback is not possible
If a WAV file will not play, confirm that it uses a sampling frequency (44.1/48 kHz) and a bit depth (16/24-bit) that are supported by this unit.
If you are trying to play an MP3 file, confirm that it uses a sampling frequency (44.1/48 kHz) and a bit rate (32–320 kbps or VBR) that are supported by this unit.
All the tracks on an SD card or USB flash drive cannot be played back
Confirm that it is not in folder playback mode.
“Processing” appears on the display and operations are disabled
Sometimes when the unit is processing data, it will temporarily stop responding to operations. At these times, “Processing” appears on the display. This message will disappear after about 3 seconds. Try the operation again after confirming that the display has returned to its previous state.
No sound is output
Check connections with the monitoring system again. Check the volume of the amplifier as well.
There is noise
Confirm that the connection cables do not have contact issues.
Nothing appears on the display or it is dim
Confirm that the display brightness setting is not set to dim. (See "Adjusting the display brightness".)
Sound breaks up or is noisy
Are there any wireless LAN devices, other Bluetooth devices, microwave ovens or similar equipment nearby?
Keep such devices as far away as possible during use.
Try reducing the distance between this unit and the other Bluetooth device. Try changing the positions of this unit and the other Bluetooth device.
The operation of apps other than for music playback on the smartphone could cause the sound to break up. In this case, stop operation of apps other than the one used for music playback.
The processing load on the computer could cause sound to break up and noise to occur. Reduce the load on the computer.
Cannot connect or communication is interrupted
Confirm that the other Bluetooth device power is on and that its Bluetooth function is on.
Confirm that the other Bluetooth device is not too far away.
Are there walls or other obstacles, for example, between this unit and the other Bluetooth device?
The body of this unit itself could interrupt transmission if the other Bluetooth device is behind it.
Try changing the positions of this unit and the other Bluetooth device.
Try turning this unit's power off and on again.
Remove the "MP800U_----" pairing record from the other Bluetooth device, and try pairing the unit with that Bluetooth device again.
Cannot pair with another device
Confirm that the other Bluetooth device supports A2DP and AVRCP.
Confirm that the other Bluetooth device is in a state that allows transmission. For details, check the operation manual of that Bluetooth device.
Turn the power off for both this unit and the other Bluetooth device once, turn them both on again and try pairing them.
Turn off Bluetooth devices other than the one that you are trying to pair with.
Remove the "MP800U_----" pairing record from the other Bluetooth device, and try pairing the unit with that Bluetooth device again.
Cannot receive radio or reception is poor
Select a broadcast station.
If reception is poor, try repositioning the antenna.
If a TV is near the unit, turn the TV off.
Reception conditions are poor in reinforced concrete buildings, basements and similar locations. Place this unit and its antenna near a window facing outside the building, for example.
Stereo FM broadcasts become mono
Confirm that the FM mode is not set to mono reception.
The unit is connected, but the computer does not recognize it
This unit cannot be used with USB 1.1. Use a port that supports at least USB 2.0 or USB 3.0.
Do not use a USB hub with this unit. Always connect the unit directly to a USB port on the computer.
If the above methods do not resolve the problem, connect the unit to a different USB port on the computer.
No sound is output from this unit when playing back from the computer
Check the status of the unit's connection with the computer.
Moreover, if the following settings are made, sound will be output through this unit, but no sound will be output by the computer’s speakers or headphone jack.
When using Windows
1.Open the Sound settings screen using the procedures for the OS being used.
2.On the “Playback” page, right-click “MP-800U”, and click “Set as Default Device” in the pop-up menu that appears.
At this time, the green check mark (
) will move next to the selected device.
3.When done setting, click the “OK” button.
4.Start an audio application and play an audio file.
If the setting was changed while the audio application was running, it will not recognize that the device has been changed. In this case, restart the audio application.
If you still cannot hear sound after making the settings and completing the procedures above, restart the computer.
When using macOS
1.Quit all applications and open “System Preferences…” from the Apple menu.
2.Open “Sound”.
3.On the Output tab, select “MP-800U”.
After completing the above setting, restart the computer and check the sound of playback. Depending on the application that you are using, you might need to make additional device settings.
Please see the manuals for the applications that you are using for detailed setting procedures.
Operations sometimes becomes unstable
When using Windows, the power management settings could cause operation to become unstable.
In this case, try the following.
1.Open the Control Panel using the procedures for the OS being used.
2.Click “Hardware and Sound”.
3.Click “Power Options”.
4.Select “High Performance” from the “Power Options”.
NOTE
If an item is not shown, select the “Show Additional Plans“ downward triangular button. Alternatively, click “Create a power plan”.
Supported media
SD cards (512 MB – 2 GB)
SDHC cards (4 GB – 32 GB)
SDXC cards (64 GB – 512 GB)
USB flash drives (512 MB – 512 GB)
Media must be formatted as FAT16, FAT32 or exFAT.
Playback file formats
WAV: 44.1/48 kHz, 16/24 bit (LPCM)
MP3: 44.1/48 kHz, 32/64/96/128/192/256/320 kbps, VBR
AAC: 44.1/48 kHz, 32–320 kbps, VBR (MPEG Extended HE-AAC (audio stream), DRM not supported)
Maximum file size: 4 GB
Maximum number of files: 999 (including folders)
Maximum number of folder levels: 16 (The full path, including the file name, must not exceed 260 characters.)
Number of channels
2 channels (stereo)
1 channel (mono)
ANALOG OUTPUT (BALANCED) jacks
Connectors: XLR-3-32 (1: GND, 2: HOT, 3: COLD)
Rated output level: +4 dBu (1.23 Vrms, when analog output level setting OFF)
Maximum output level (switchable): +20 dBu (7.75 Vrms, when analog output level setting OFF)
Output impedance: 100 Ω
ANALOG OUTPUT (UNBALANCED) jacks
Connectors: RCA pin jacks
Rated output level: −10 dBV (0.316 Vrms, when analog output level setting OFF)
Maximum output level (switchable): +6 dBV (2.0 Vrms, when analog output level setting OFF)
Output impedance: 210 Ω
TUNER OUTPUTS (UNBALANCED) jacks
Connectors: RCA pin jacks
Rated output level: −10 dBV (0.316 Vrms, when −16 dBFS DAC output and tuner output level setting OFF)
Maximum output level (switchable): +6 dBV (2.0 Vrms, when 0 dBFS DAC output and tuner output level setting OFF)
Output impedance: 210 Ω
PHONES jack
Connector: 6.3 mm (1/4") standard stereo jack
Maximum output level: 20 mW + 20 mW or higher (THD+N 0.1% or less, into 32 Ω load)
Note: 0 dBu = 0.775 Vrms, 0 dBV = 1 Vrms
REMOTE jack
Connector: 2.5 mm TRS jack (TIP: Signal 1, RING: Signal 2, SLEEVE: GND)
CONTROL IN/OUT jacks
IN connector: 3.5 mm TRS jack (TIP: IN 1, RING: IN 2, SLEEVE: GND)
Active low external command reception (30 ms or longer ground)
OUT connector: 3.5 mm TRS jack (TIP: OUT 1, RING: OUT 2, SLEEVE: GND)
Open collector (15 V maximum voltage, 35 mA maximum current, 250 mW maximum output)
USB FLASH DRIVE port
Connector: 4-pin USB Type-A
Protocol: USB 2.0 HIGH SPEED (480 Mbps)
Device class: Mass storage
USB AUDIO STREAM port
Connector: USB Type-C
Protocol: USB 2.0 HIGH SPEED (480 Mbps)
Device class: USB audio 2.0 (USB class compliant)
Bluetooth device connector
For Bluetooth adapter (AK-BT2) only
Frequency response
20 Hz – 20 kHz: +0.5 dB / −1.0 dB (during SD/USB playback to analog output, JEITA)
Distortion
0.005% or less (during SD/USB playback to analog output, JEITA)
S/N ratio
95 dB or higher (during SD/USB playback to analog output, JEITA)
Dynamic range
95 dB or higher (during SD/USB playback to analog output, JEITA)
Channel separation
95 dB or higher (during SD/USB playback to analog output, 1 kHz sine wave, JEITA)
Frequency range
FM: 87.5 – 108.0 MHz
Antenna connector
Connector: F-type jack
Operating system and other requirements
Check the TASCAM website for the latest information about supported operating systems.
https://tascam.jp/int/product/mp-800u/spec#osmedia
NOTE
Operation with each OS was confirmed with standard system setups that met the following conditions.
Operation is not guaranteed, however, with all systems that meet the following conditions.
Windows
Supported operating systems
Windows 11
Windows 10 64-bit
Computer hardware requirements
Windows computer with a USB 2.0 or USB 3.0 port
CPU/processor speed
2 GHz or faster dual core processor (x86)
Memory
2 GB or more
Mac
Supported operating systems
macOS Sequoia (15 and higher)
macOS Sonoma (14 and higher)
macOS Ventura (13 and higher)
Computer hardware requirements
Mac with USB 2.0 or higher
CPU/processor speed
2 GHz or faster dual core processor
Memory
2 GB or more
Power
AC 100–240 V, 50/60 Hz
Power consumption
AC 100–240 V, 50/60 Hz
Dimensions
482.8 × 46.5 × 297.1 mm (W x H x D, including protrusions)
Weight
2.7 kg
Operating temperature range
0 – 40°C

Illustrations in this manual might differ in part from the actual product.
Specifications and external appearance might be changed without notification to improve the product.